污水注氣微排閥產品簡介
污水注氣微排閥主要由負壓吸氣閥和污水復合式排氣閥組合而成,該負壓吸氣閥包括吸氣閥體、閥蓋、高速吸氣孔口和帶彈簧的閥瓣,閥瓣通過彈簧上下移動,使吸氣閥封閉高速吸氣孔口保持關閉或通氣狀態,其污水復合式排氣閥通過連接管連接在負壓吸氣閥一側的閥口前。污水注氣微排閥在分離的水柱回流彌合時,當系統壓力升高至接近大氣壓力但仍處于微負壓狀態時,彈簧頂托力剛好克服閥瓣自重而關閉孔口,停止吸氣,也不讓排氣,因為沒有另外的高速排氣孔口,管內的氣體不能被高速排出,而只能經由污水復合式排氣閥緩慢地排出,從而臨時截留大部分空氣,形成彈性氣囊,緩沖彌合水柱的撞擊能量,抑制水柱彌合水錘升壓。本產品能夠滿足水路系統中特種情況下的通氣問題,尤其是當發生非常水錘情況下的安全保護問題。
污水注氣微排閥部件材料
序號 | 零部件名稱 | 材料名稱 | ||||
1 | 閥 蓋 | QT450 | WCB | CF8 | CF8M | CF3M |
2 | 閥 桿 | 304 | 304 | 304 | 316 | 316L |
3 | 閥 瓣 | 304 | 304 | 304 | 316 | 316L |
4 | 彈 簧 | 304 | 304 | 304 | 316 | 316L |
5 | 閥 體 | QT450 | WCB | CF8 | CF8M | CF3M |
6 | 檢 修 閥 | CF8 | CF8 | CF8 | CF8M | CF3M |
7 | 防 護 網 | 304 | 304 | 304 | 316 | 316L |
8 | 污水排氣閥 | QT450 | WCB | CF8 | CF8M | CF3M |
污水注氣微排閥性能規范
公稱壓力PN(MPa) | 0.6 | 1.0 | 1.6 | 2.5 | 2.0 |
閥體強度試驗壓力(MPa) | 0.9 | 1.5 | 2.4 | 3.75 | 3.0 |
高壓水密封試驗壓力(MPa) | 0.66 | 1.1 | 1.76 | 2.75 | 2.2 |
低壓水密封試驗壓力(MPa) | 0.02 | 0.02 | 0.02 | 0.02 | 0.02 |
法蘭標準 | GB/T 17241.6-2008、JB/T 79-2015、GB/T 9113-2010、ASME B16.5-2017等 | ||||
檢驗試驗 | GB/T 13927-2008、API 598-2016 | ||||
適用介質 | 污水、原水或物理化學性質類似于水的其他液體 | ||||
工作溫度 | 0℃ ~ 80℃ | ||||
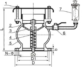
污水注氣微排閥外形尺寸
公稱壓力 PN(MPa) | 公稱通徑 DN(mm) | 尺寸(mm) | |||||
L | D | D1 | D2 | b-f | N-Φ | ||
1.6 | 50 | 180 | 160 | 125 | 100 | 16-3 | 4-18 |
65 | 190 | 180 | 145 | 120 | 18-3 | 4-18 | |
80 | 210 | 195 | 160 | 135 | 20-3 | 8-18 | |
100 | 225 | 215 | 180 | 155 | 20-3 | 8-18 | |
125 | 250 | 245 | 210 | 185 | 22-3 | 8-18 | |
150 | 270 | 280 | 240 | 210 | 24-3 | 8-23 | |
200 | 310 | 335 | 295 | 265 | 26-3 | 12-23 | |
250 | 370 | 405 | 355 | 320 | 30-3 | 12-25 | |
300 | 380 | 460 | 410 | 375 | 30-4 | 12-25 | |
表中只列出了部分JB/T 79-2015標準PN16法蘭連接外形尺寸。如需其他規格尺寸,請咨詢汗越閥門! | |||||||
污水注氣微排閥結構圖

如果你需訂購我廠排氣閥產品,咨詢時煩請說明公稱通徑、公稱壓力、閥體和內件材料等,本產品可在負壓吸氣閥和污水復合式排氣閥的連接管處設置檢修閥,當使用的工況非常重要或環境比較復雜時,煩請盡量提供設計圖紙和詳細參數,由我公司技術人員為您審核把關。
網站首頁