鍛鋼Y型過濾器產品介紹
鍛鋼Y型過濾器是我廠采用SH/T 3411-2017石油化工泵用過濾器選用、檢驗及驗收規范設計制造的一種鍛制Y型過濾器,其主體部件均選用致密性較好的鍛件材料,殼體和殼蓋間連接可設計成方形法蘭栓接、螺蓋式、組焊式和自密封式等形式,其中自緊密封式的介質作用在殼體中腔,推動殼蓋上升壓緊密封環,實現密封,且壓力不直接作用在填料墊上,壓力越高,密封環受壓力越大,密封性能越好。本產品特適合高溫高壓管路輸送系統過濾。
鍛鋼Y型過濾器相比鑄制Y型過濾器,其較大的特點是不會有搬運碰撞和鑄造砂孔而帶來的外部泄漏現象,它是重要機械設備及儀表的常用附件。我廠生產的本系列產品可根據用戶要求在殼蓋中部鉆孔,然后安裝上排放絲堵或排污閥門,方便排除殘液和雜質,使其無需經常拆裝殼蓋以及濾筒,減輕了工人的勞動強度,提高工作效率。本產品按接口端面型式的不同可分為SRYIT螺紋式、SRYIS承插焊式、SRYIW對焊式、SRYIF法蘭式等四種型號。
鍛鋼Y型過濾器部件材料
| 序號 | 部件名稱 | 材料名稱 | |||||
| 1 | 殼 體 | A105 | A182 F11 | A182 F304 | A182 F304L | A182 F316 | A182 F316L |
| 2 | 法 蘭 | A105 | A182 F11 | A182 F304 | A182 F304L | A182 F316 | A182 F316L |
| 3 | 濾 筒 | A240 304 | A240 304 | A240 304 | A240 304L | A240 316 | A240 316L |
| 4 | 絲 網 | A240 304 | A240 304 | A240 304 | A240 304L | A240 316 | A240 316L |
| 5 | 墊 片 | GRAPHITE | GRAPHITE | GRAPHITE | GRAPHITE | GRAPHITE | GRAPHITE |
| 6 | 殼 蓋 | A105 | A182 F11 | A182 F304 | A182 F304L | A182 F316 | A182 F316L |
| 7 | 螺 栓 | A193 B7 | A193 B16 | A193 B8 | A193 B8 | A193 B8M | A193 B8M |
| 8 | 螺 母 | A194 2H | A194 4 | A194 8 | A194 8 | A194 8M | A194 8M |
鍛鋼Y型過濾器技術規范
| 公稱壓力PN(MPa) | 1.6 | 2.5 | 4.0 | 6.3 | 10.0 | 16.0 |
| 殼體試驗壓力(MPa) | 2.4 | 3.75 | 6.0 | 9.45 | 15.0 | 24.0 |
| 氣密性試驗壓力(MPa) | 1.6 | 2.5 | 4.0 | 6.3 | 10.0 | 16.0 |
| 設計制造 | SH/T 3411-2017 石油化工泵用過濾器選用、檢驗及驗收規范 | |||||
| 法蘭標準 | JB/T 79、GB/T 9113、HG/T 20592、HG/T20615、SH/T 3406、ASME B16.5等 | |||||
| 檢驗驗收 | SH/T 3411-2017 石油化工泵用過濾器選用、檢驗及驗收規范 | |||||
| 壓力試驗 | GB/T 13927-2008、JB/T 9092-1999、API 598-2016 | |||||
| 過濾精度 | 10目 ~ 500目 | |||||
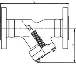
鍛鋼Y型過濾器主要尺寸
| 公稱壓力 PN | 公稱尺寸 DN | 結構尺寸/mm | 公稱壓力 PN | 公稱尺寸 DN | 結構尺寸/mm | ||
| L | H | L | H | ||||
| 20 (Class150) | 15 | 108 | 70 | 110 (Class600) | 15 | 165 | 70 |
| 20 | 117 | 100 | 20 | 190 | 100 | ||
| 25 | 127 | 110 | 25 | 216 | 110 | ||
| 32 | 140 | 120 | 32 | 229 | 120 | ||
| 40 | 165 | 120 | 40 | 241 | 120 | ||
| 50 | 203 | 150 | 50 | 292 | 150 | ||
| 50 (Class300) | 15 | 152 | 70 | 150 (Class900) | 15 | 216 | 70 |
| 20 | 178 | 100 | 20 | 229 | 100 | ||
| 25 | 203 | 110 | 25 | 254 | 110 | ||
| 32 | 216 | 120 | 32 | 279 | 120 | ||
| 40 | 229 | 120 | 40 | 305 | 120 | ||
| 50 | 267 | 150 | 50 | 368 | 150 | ||
| 表中未列出的其他規格尺寸,請咨詢汗越閥門技術部! | |||||||
鍛鋼Y型過濾器結構圖

我廠生產的鍛鋼Y型過濾器主要材質有A105碳素鋼,ASTM A182 F11 CL.2、F22 CL.3等合金鋼,ASTM A182 F304、F304L、F316、F316L等不銹鋼,ASTM A182 F51、A182 F53、A182 F55、A182 F60、A182 F61等雙相不銹鋼或其他材料,在訂購本產品時請提供過濾網過濾精度,如有其他殊要求,咨詢時請說明。
網站首頁