下展式放料閥產品概述
下展式放料閥主要安裝在帶有框式、錨式攪拌器的反應釜上,當閥打開時閥桿和閥瓣的運動方向與介質流向一致,其閥芯不能伸入釜內,物料是在靜止狀態下出料,也不會積料。該閥借助于其底部可拆卸法蘭焊接到反應釜、儲罐和其他容器的底部,閥門工作時,閥芯向下運動,流體由閥瓣和閥體之間的環形泄孔通過流下到閥出口,不會產生阻礙介質的流出,因此,除去了物料通常在容器出口的殘留現象,而關閉時,閥瓣上升到閥門入口處堵住物料出口。
下展式放料閥閥體入口與罐底的連接結構可采用法蘭型或管接型,規格比閥門的公稱尺寸大一到二檔,其運動件閥桿一端通過鎖緊螺母聯接閥芯,而另端則與氣缸、電裝及手輪等驅動裝置相連控制閥芯上、下位移,從而實現閥門的全開或全關動作。該閥閥瓣采取短行程設計,同時閥體內腔有耐沖刷、耐腐蝕的閥座,在開啟閥的剎那,可以保護殼體不被介質沖刷和腐蝕,并對其密封面進行硬化處理,使它的表面硬度大于HRC52,具有耐沖刷、耐蝕的功能。
下展式放料閥部件材料
序號 | 部件名稱 | 材料名稱 | ||||
1 | 閥 體 | WCB | CF8 | CF3 | CF8M | CF3M |
2 | 閥 蓋 | WCB | CF8 | CF3 | CF8M | CF3M |
3 | 閥 座 | WCB | CF8 | CF3 | CF8M | CF3M |
4 | 閥 瓣 | WCB | CF8 | CF3 | CF8M | CF3M |
5 | 填 料 | GRAPHITE、RPTFE、PTFE、TEFLON、PPL | ||||
6 | 閥 桿 | 2Cr13 | 06Cr19Ni10 | 022Cr19Ni10 | 06Cr17Ni12Mo2 | 022Cr17Ni12Mo2 |
7 | 墊 片 | GRAPHITE | PTFE | PTFE | PTFE | PTFE |
8 | 螺 柱 | 35CrMoA | 06Cr19Ni10 | 06Cr19Ni10 | 06Cr17Ni12Mo2 | 06Cr17Ni12Mo2 |
9 | 螺 母 | 30CrMo | 06Cr19Ni10 | 06Cr19Ni10 | 06Cr17Ni12Mo2 | 06Cr17Ni12Mo2 |
下展式放料閥性能規范
公稱壓力PN(MPa) | 0.6 | 1.0 | 1.6 | 2.5 | 2.0 |
殼體強度試驗壓力(MPa) | 0.9 | 1.5 | 2.4 | 3.75 | 3.0 |
高壓水密封試驗壓力(MPa) | 0.66 | 1.1 | 1.76 | 2.75 | 2.2 |
低壓氣密封試驗壓力(MPa) | 0.6 | 0.6 | 0.6 | 0.6 | 0.6 |
設計制造 | JB/T 11489-2013 放料用截止閥 | ||||
法蘭標準 | JB/T 79、GB/T 9113、HG/T 20592、HG/T 20615、SH/T 3406、ASME B16.5等 | ||||
檢驗試驗 | JB/T 11489-2013 放料用截止閥 | ||||
工作溫度 | -60℃ ~ 232℃ | ||||
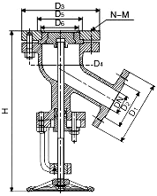
下展式放料閥外型尺寸
公稱壓力 PN(MPa) | 公稱通徑 DN(mm) | 出口法蘭(mm) | 進口法蘭(mm) | 密封座(mm) | |||
D1 | D2 | D3 | D4 | D5 | D6 | ||
1.6 | 25 | 115 | 85 | 135 | 100 | 70 | 40 |
32 | 135 | 100 | 145 | 110 | 75 | 55 | |
40 | 145 | 110 | 160 | 125 | 80 | 60 | |
50 | 160 | 125 | 180 | 145 | 100 | 80 | |
65 | 180 | 145 | 195 | 160 | 135 | 110 | |
80 | 195 | 160 | 225 | 190 | 160 | 135 | |
100 | 215 | 180 | 260 | 225 | 200 | 175 | |
125 | 245 | 210 | 280 | 245 | 200 | 175 | |
150 | 280 | 240 | 335 | 295 | 240 | 210 | |
200 | 335 | 295 | 405 | 355 | 285 | 240 | |
下展式放料閥結構圖

本產品按驅動方式的不同分為JF41XY手動下展式放料閥、JF641XY氣動下展式放料閥、JF941XY電動下展式放料閥三種。如果你需訂購我廠放料閥產品,咨詢時煩請說明公稱尺寸、公稱壓力、閥體材質、閥瓣密封面是否需要堆焊硬質合金、介質溫度及連接方式(法蘭式、焊接式等)等。
網站首頁