上展式放料閥產品介紹
上展式放料閥主要配裝于帶有漿式、渦輪式或推進式攪拌器的反應釜或儲罐,當閥開啟時閥桿和閥瓣的運動方向與介質流向相反,其閥瓣能伸入罐內,可起頂針作用,使物料在流動狀態下出料,而且罐底不積料。該閥開關是依靠閥芯隨閥桿的上、下移動來完成的,閥芯與閥座接觸時閥門被關閉,分離時放料閥打開。本產品在開啟過程中能夠向上頂起閥芯,使沉積于容器口而不能隨攪拌漿旋轉的固體顆粒順利地排放。
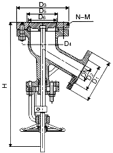
上展式放料閥通常由閥體、閥桿、閥瓣、閥座、支架和手輪等部件組成,其閥桿穿過閥體,下端與閥瓣相連,上端設有手輪,當需要排放物料時,順時針轉動手輪,帶動閥桿上行,閥瓣向上運動,打開進料口,介質流出,而需關閉時,逆時針旋轉手輪,帶動閥桿下行,閥瓣向下移動到閥門入口處堵住物料出口。本產品放底被設計為平底型,閥體為V型結構,內腔無積料凹槽,流道表面光滑、流暢,方便物料的流出。
上展式放料閥部件材料
序號 | 部件名稱 | 材料名稱 | ||||
1 | 閥 體 | WCB | CF8 | CF3 | CF8M | CF3M |
2 | 閥 蓋 | WCB | CF8 | CF3 | CF8M | CF3M |
3 | 閥 座 | WCB | CF8 | CF3 | CF8M | CF3M |
4 | 閥 瓣 | WCB | CF8 | CF3 | CF8M | CF3M |
5 | 填 料 | GRAPHITE、RPTFE、PTFE、TEFLON、PPL | ||||
6 | 閥 桿 | 2Cr13 | 06Cr19Ni10 | 022Cr19Ni10 | 06Cr17Ni12Mo2 | 022Cr17Ni12Mo2 |
7 | 墊 片 | GRAPHITE | PTFE | PTFE | PTFE | PTFE |
8 | 螺 柱 | 35CrMoA | 06Cr19Ni10 | 06Cr19Ni10 | 06Cr17Ni12Mo2 | 06Cr17Ni12Mo2 |
9 | 螺 母 | 30CrMo | 06Cr19Ni10 | 06Cr19Ni10 | 06Cr17Ni12Mo2 | 06Cr17Ni12Mo2 |
上展式放料閥性能規范
公稱壓力PN(MPa) | 0.6 | 1.0 | 1.6 | 2.5 | 2.0 |
殼體強度試驗壓力(MPa) | 0.9 | 1.5 | 2.4 | 3.75 | 3.0 |
高壓水密封試驗壓力(MPa) | 0.66 | 1.1 | 1.76 | 2.75 | 2.2 |
低壓氣密封試驗壓力(MPa) | 0.6 | 0.6 | 0.6 | 0.6 | 0.6 |
設計制造 | JB/T 11489-2013 放料用截止閥 | ||||
法蘭標準 | JB/T 79、GB/T 9113、HG/T 20592、HG/T 20615、SH/T 3406、ASME B16.5等 | ||||
檢驗試驗 | JB/T 11489-2013 放料用截止閥 | ||||
適用溫度 | -60℃ ~ 232℃ | ||||
上展式放料閥外型尺寸
公稱壓力 PN(MPa) | 公稱通徑 DN(mm) | 出口法蘭(mm) | 入口法蘭(mm) | 密封座(mm) | |||
D1 | D2 | D3 | D4 | D5 | D6 | ||
1.6 | 25 | 115 | 85 | 115 | 85 | — | — |
32 | 135 | 100 | 135 | 100 | 70 | 40 | |
40 | 145 | 110 | 145 | 110 | 70 | 50 | |
50 | 165 | 125 | 160 | 125 | 80 | 60 | |
65 | 180 | 145 | 180 | 145 | 95 | 75 | |
80 | 195 | 160 | 195 | 160 | 110 | 90 | |
100 | 215 | 180 | 215 | 180 | 130 | 110 | |
125 | 245 | 210 | 245 | 210 | 160 | 130 | |
150 | 280 | 240 | 280 | 240 | 190 | 150 | |
200 | 335 | 295 | 335 | 295 | 240 | 200 | |
上展式放料閥結構圖

本產品按驅動方式的不同分為JF41SY手動上展式放料閥、JF641SY氣動上展式放料閥、JF941SY電動上展式放料閥三種。如果你需訂購我廠放料閥產品,咨詢時煩請說明公稱通徑、公稱壓力、閥體和內件材質、工作溫度、法蘭標準及端面形式等。
網站首頁